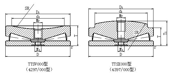
该类轴承是专用轴承,是为轧钢机压下机构专门设计的,轴承无保持架满装滚子,允许的转速极低,轴向负荷能力很大,为满足轧钢机压下机构工作要求,该类轴承的顶圈顶端加工成凸球面TTSX000型(4297/000型)或凹球面TTSV000型(4397/000型),以保证其调心性能,同其他相配合的异型端面接触均匀,在压下机构相对轴承轴线产生一定倾斜时能保证轴承受力均匀。
该类轴承是经过严格配套而成,滚子及其他零件互换性差,每套轴承应独立使用,安装时套与套之间的滚子不能混装。

轧机压下机构用满装推力圆锥滚子轴承参数

|
轴承型号 |
外形尺寸(㎜) |
额定静载荷 |
质量Weight |
|||||||||
|
现型号 |
原型号 |
D |
Mass |
T1 |
T |
d1 |
SR |
M1 |
M2 |
rmin |
Coa(kN) |
(㎏) |
|
TTSX100 |
4397/100 |
100 |
98 |
37 |
32 |
87 |
250 |
M8 |
|
1.5 |
1002 |
1.9 |
|
TTSX120 |
4397/120 |
120 |
118 |
45 |
38 |
105 |
300 |
M10 |
|
1.5 |
1635 |
3.3 |
|
TTSX150 |
4397/150 |
150 |
148 |
55 |
48 |
127 |
457.2 |
M12 |
|
1.5 |
2325 |
6.3 |
|
TTSV150 |
4297/150 |
150 |
148 |
|
48 |
127 |
228.6 |
M12 |
|
1.5 |
2325 |
5.7 |
|
TTSX175 |
4397/175 |
175 |
173 |
62 |
53 |
152 |
457.2 |
M12 |
|
1.5 |
3223 |
9.6 |
|
TTSV175 |
4297/175 |
175 |
173 |
|
53 |
152 |
228.6 |
M12 |
|
1.5 |
3223 |
8.5 |
|
TTSX203 |
4397/203 |
203 |
201 |
75.6 |
65 |
178 |
508 |
M12 |
|
1.5 |
4500 |
16 |
|
TTSV203 |
4297/203 |
203 |
201 |
|
65 |
178 |
254 |
M12 |
|
1.5 |
4500 |
10.2 |
|
TTSX205 |
4397/205 |
205 |
203 |
76 |
65 |
178 |
508 |
M20 |
|
1.5 |
4585 |
16.2 |
|
TTSV205 |
4297/205 |
205 |
203 |
|
65 |
178 |
254 |
M20 |
|
1.5 |
4585 |
14.3 |
|
TTSX235 |
4397/235 |
235 |
233 |
85 |
73 |
208 |
560 |
M20 |
|
1.5 |
6028 |
23.7 |
|
TTSV235 |
4297/235 |
235 |
233 |
|
73 |
208 |
280 |
M20 |
|
1.5 |
6028 |
18 |
|
TTSX265 |
4397/265 |
265 |
263 |
95 |
81 |
229 |
609 |
M20 |
|
1.5 |
7753 |
33.9 |
|
TTSV265 |
4297/265 |
265 |
263 |
|
81 |
229 |
304.8 |
M20 |
|
1.5 |
7753 |
24.1 |
|
TTSX320 |
4397/320 |
320 |
318 |
112 |
95 |
280 |
762 |
M24 |
M30 |
1.5 |
11500 |
58.9 |
|
TTSV320 |
4297/320 |
320 |
318 |
|
95 |
280 |
380 |
M24 |
M30 |
1.5 |
11500 |
51 |
|
TTSX377 |
4397/377 |
377 |
375 |
129 |
112 |
330 |
914 |
M24 |
M30 |
1.5 |
17192 |
93.5 |
|
TTSV377 |
4297/377 |
377 |
375 |
|
112 |
330 |
457.2 |
M24 |
M30 |
1.5 |
17192 |
65.8 |
|
TTSX380 |
4397/380 |
380 |
378 |
129 |
112 |
330 |
914.4 |
M24 |
M30 |
1.5 |
17490 |
98.5 |
|
TTSV380 |
4297/380 |
380 |
378 |
|
112 |
330 |
457.2 |
M24 |
M30 |
1.5 |
17490 |
66 |
|
TTSX410 |
4397/410 |
410 |
408 |
142 |
122 |
355 |
1016 |
M24 |
M30 |
1.5 |
18910 |
125 |
|
TTSV410 |
4297/410 |
410 |
408 |
|
122 |
355 |
508 |
M24 |
M30 |
1.5 |
18910 |
110 |
|
TTSX440 |
4397/440 |
440 |
438 |
158 |
130 |
380 |
1016 |
M24 |
M36 |
3 |
23330 |
139 |
|
TTSV440 |
4297/440 |
440 |
438 |
|
130 |
380 |
508 |
M24 |
M36 |
3 |
23330 |
137 |
|
TTSX495 |
4397/495 |
495 |
492 |
172 |
146 |
432 |
1066.8 |
M24 |
M36 |
3 |
26000 |
237 |
|
TTSV495 |
4297/495 |
495 |
492 |
|
146 |
432 |
558.8 |
M24 |
M36 |
3 |
26000 |
190 |
|
TTSX525 |
4397/525 |
525 |
522 |
180 |
155 |
460 |
1270 |
M24 |
M36 |
3 |
36200 |
266 |
|
TTSV525 |
4297/525 |
525 |
522 |
|
155 |
460 |
635 |
M24 |
M36 |
3 |
36200 |
224 |
|
TTSX555 |
4397/555 |
555 |
522 |
192 |
165 |
482 |
1270 |
M24 |
M36 |
3 |
33500 |
275 |
|
TTSV555 |
4297/555 |
555 |
522 |
|
165 |
482 |
635 |
M24 |
M36 |
3 |
33500 |
275 |
|
TTSX580 |
4397/580 |
580 |
577 |
195 |
165 |
510 |
1422.4 |
M24 |
M42 |
3 |
38000 |
330 |
|
TTSV580 |
4297/580 |
580 |
577 |
|
165 |
510 |
710 |
M24 |
M42 |
3 |
41560 |
300 |
|
TTSX610 |
4397/610 |
610 |
607 |
205 |
178 |
533 |
1524 |
M30 |
M42 |
3 |
44420 |
388 |
|
TTSV610 |
4297/610 |
610 |
607 |
|
178 |
533 |
762 |
M30 |
M42 |
3 |
44420 |
345 |
|
TTSX640 |
4397/640 |
640 |
637 |
214.8 |
185 |
550 |
1524 |
M30 |
M42 |
3 |
48560 |
454 |
|
TTSV640 |
4297/640 |
640 |
637 |
|
185 |
550 |
762 |
M30 |
M42 |
3 |
48560 |
418 |
|
TTSX710 |
4397/710 |
710 |
705 |
250 |
235 |
610 |
1600 |
M30 |
M42 |
4 |
62700 |
697 |
|
TTSX750 |
4397/750 |
750 |
745 |
260 |
225 |
650 |
1600 |
M30 |
M42 |
4 |
63900 |
747 |
|
TTSX800 |
4397/800 |
800 |
795 |
270 |
245 |
700 |
1700 |
M30 |
M48 |
4 |
65000 |
930 |
|
TTSX900 |
4397/900 |
900 |
896 |
280 |
236 |
750 |
1800 |
M36 |
M48 |
6 |
94000 |
1230 |
上一个:没有了
下一个:轧机用四列圆柱滚子轴承